Article

Vibration Switches in Electrical Boxes Part Numbers and Components

« Go Back
Information
Validated
Published
Vibration-Switches-in-Electrical-Boxes-Part-Numbers-and-Components
Article Details
000001986
Vibration Switches in Electrical Boxes Part Numbers and Components
Vibration switches used in electrical boxes by type and model number. Component Parts
This Article lists the types of vibration switches used in electrical boxes, their part numbers, and their component parts. Model Number designation is supplied but check diagrams to ensure the correct parts are identified and/or ordered.

These switches are not intended for precision adjustment but rather to detect if a machine is loose from the floor or has a frame shaking beyond normal limits. These switches normally shut down the controls and stop the machine.

Vibration switches should not be confused with excursion switches which indicate excessive motion of a suspended machine. For part number information on Excursion Switches click HERE

Vibration Switch

 
User-added image

There are 5 different configurations of the Vibration Switch.
Listed in table below. Diagrams, Model listings, and Part Numbers below.

PART NUMBERDESCRIPTIONNOTES
SAE03 151ASSY-VIBRATION SWT=LG CONTRMOST COMMON (Pictured Below)
NC SWITCH (NORMALLY CLOSED)
SAE03 151AASSY-VIBRATION SWT=BALCOMSAME AS SAE03 151 WITH DIFFERENT BRACKET
SAE03 151BASSY-VIBRATION SWITCH SGLE LSWITCH USED ON LEGACY MODELS
SAE03 151K
(replaces discontinued
vibration switch SAE03 151C)
ASSY-VIBRATION SWT=OMRON Z-15HW24-BSAME AS SAE03 151 WITH NO/NC SWITCH
(Switch Comparison Pictured Below)
SAE03 151HASSY=VIBRATION SWT, 3022H7SAME AS SAE03 151 WITH DIFFERENT BRACKET
User-added image
 

09R020 - 09R020B COMPARISON

User-added image


 

 

SAE03 151 
By far the most common vibration switch.  No models listed because this is probably the part you're looking for.  If a webpage search for your model does not provide any results, this is probably the switch you need.  Refer to diagrams and pertinent measurements. 

User-added image
DIAGRAM NUMBER   PART NUMBER    DESCRIPTION
1    02 02038    PLATE INSULATING SMALL9NOV51
215P008TRDCUT PANHD 6-32X1 NIKSTL +WA
5A02 15119BRACKET=VIBSW CAD
609R020SWITCH NC VIBR#WZ-2RW84429-P52
703 01059VIBSWITCH CLAMP CADSTL
803 01058VIBSWITCH WEIGHT-CADSTL
915P101TRDCUT-F PANHD 8-32X3/8 NIKSTL


 


SAE03 151A 
-  Models 36021BWP, 36021CPE

User-added image

 
DIAGRAM NUMBER    PART NUMBER     DESCRIPTION
102 02038PLATE INSULATING SMALL9NOV51
215P008TRDCUT PANHD 6-32X1 NIKSTL +WA
5B02 10264BRACKET=SAFESW CAD
609R020SWITCH NC VIBR#WZ-2RW84429-P52
703 01059VIBSWITCH CLAMP CADSTL
803 01058VIBSWITCH WEIGHT-CADSTL
915P101TRDCUT-F PANHD 8-32X3/8 NIKSTL
 


 

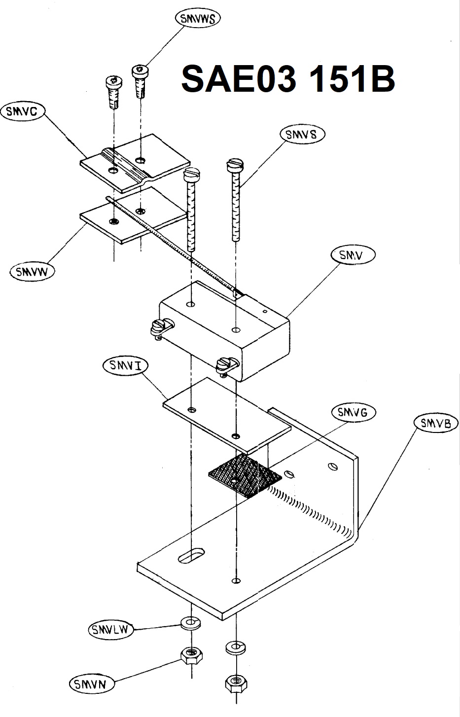
SAE03 151B 
-  Legacy Vibration Switch 
-  Models 36021BWP, 36021CPE, 36026Q4P, 36026Q6P, 42026Q6P, 42026QTL, 42026QTN, 48032BHP,  48032BTL,  48032BTN, 
48036J6P, 48036QTL, 48036QTN, 48036J6L, 48036QHP, 48036D6A, 48036D6N, 48036D6L, 52038DA1, 52038WTL, 
52038WTN, 52038WP1, 52038DAN, 52038DAL, 64046J6N, 64046D6N, 64040E6N, 64050E6N, 72046E5N, 72044WTL, 
72044WP1, 72044WTN, 72044DA1, 72044DAN, 72058J2N

User-added image
DIAGRAM NUMBERPART NUMBERDESCRIPTION
SMV09R020SWITCH NC VIBR#WZ-2RW84429-P52
SMVB03 BL1X3VBRKT=ELL VIBRATION 1.5 X 3
SMVC03 01059VIBSWITCH CLAMP CADSTL
SMVG20A015GABRAS SHEET 3M#10290 FABRICUT
SMVI02 02038PLATE INSULATING SMALL 9NOV51
SMVLW15U100LOCKWASHER MEDIUM #6 ZINCPL
SMVN15G070HXMACHSCRNUT 6-32UNC2B ZINC GR
SMVS15N068RDMACSCR 6-32UNC2AX1.25 ZINC
SMVW03 01058VIBSWITCH WEIGHT-CADSTL
SMVWS15P101TRDCUT-F PANHD 8-32X3/8 NIKSTL
 

 

SAE03 151K (REPLACES SAE03 151C)
- USES NORMALLY OPEN / NORMALLY CLOSED SWITCH 
- SEE PHOTO ABOVE FOR COMPARISON 
- MODELS 30015C4E, 30022C4E, 30010G5E, 30015G5E, 30015T5E, 30022T5E, 30010CGE, 30015CGE, 36021C4E, 30015T5X, 30022T5X,
MCR27E5 US MADE, MWR27E5 US MADE

User-added image
DIAGRAM NUMBER   PART NUMBER    DESCRIPTION
1    02 02038    PLATE INSULATING SMALL9NOV51
215P008TRDCUT PANHD 6-32X1 NIKSTL +WA
5A02 15119BRACKET=VIBSW CAD
609R020BSW NO/NC VIBRA OMRON Z-15HW24-B
703 01059VIBSWITCH CLAMP CADSTL
803 01058VIBSWITCH WEIGHT-CADSTL
915P101TRDCUT-F PANHD 8-32X3/8 NIKSTL




 

SAE03 151H 
- Note Bolt Hole size difference 
- Models 30022H8J, 30022H7J

User-added image
DIAGRAM NUMBER       PART NUMBER     DESCRIPTION
109R02004ZSWITCH NC VIBR#WZ-2RW84429-P52
203 0105991046A VIBSWITCH CLAMP CADSTL
303 0105889417A VIBSWITCH WEIGHT-CADSTL
402 0203885482A PLATE INSULATING SMALL9NOV51
502 15119A98511# BRKT=VIBSW CAD, 3022H
615P00802Z TRDCUT PANHD 6-32X1 NIKSTL +WAX
715P101TRDCUT-F PANHD 8-32X3/8 NIKSTL








 
 
 
 

Feedback

 

Was this article helpful?


   

Feedback

Please tell us how we can make this article more useful.

Characters Remaining: 255